金莎9001zz以诚为本

行业动态

了解最新公司动态及行业资讯

热脱附土壤修复设备_热脱附土壤修复设备技术

2017-10-10 02:23:44 302 编辑:admin 来源:本站
  热脱附修复技术是经过直接加热或间接加热,将污染土壤加热到足够的温度,使其所含的有机污染物得以挥发或分离的过程。热脱附是将污染物从一相转化为另一相的物理分离过程,通过控制热脱附系统的温度和物料停留时间可以有选择性的使目标污染物挥发。直接热解析设备( CN101712042A )采用直接加热方式进行热脱附,但是热源气体与挥发出的污染气体相互混合,增大了后续尾气的处理成本,而且系统能耗高且热利用率低。因此如何降低热脱附设备运行能耗、节能减排是当前热脱附修复技术亟待解决的问题。
  本实用新型为了克服现有技术中的热脱附设备运行能耗大、土壤污染热脱附成本高的不足,提供了一种能降低能耗、极大降低土壤热脱附成本的热脱附土壤修复设备
  1、热脱附土壤修复设备技术方案:
  一种热脱附土壤修复设备,包括支架、设在支架上的水平的加热筒,所述加热筒的左端上侧设有进料通道,加热筒的右端下侧设有出料通道,所述加热筒的外侧设有太阳能集热管,所述支架的一侧设有太阳能反光板,所述的加热筒内设有主轴,所述的主轴的表面设有螺旋带,所述的支架上设有驱动主轴转动的电机,所述加热筒的左端上侧设有进气管,所述加热筒的右端上侧设有排气管,所述的排气管上设有排风机,所述加热筒的内侧设有转筒,所述转筒与加热筒之间形成环形间隙,所述转筒内部与主轴之间设有若干连杆。
  污染的土壤在脱附前经过自然干燥预处理,使得土壤中的含水量降低到符合脱附要求,预处理后的土壤从进料通道进入加热筒内,在主轴、螺旋带的作用下,土壤从加热筒的左端移动到右端,支架上的太阳能反光板聚集太阳光照射到太阳能集热管上,从而对加热筒进行加热,加热筒上的热量传递给转筒,转筒随着主轴一起转动,转筒受热均匀,能对加热筒圆周内各个部位的土壤均匀加热,从而使得土壤中苯、甲苯、二甲苯、乙苯等有害物质从土壤中挥发出来形成气态,排风机排风,把加热筒内的毒害气体排掉,最后从出料通道处排出的土壤中的毒害物质显著减少,热脱附处理后的土壤可以用于园林、种菜等,本结构采用太阳能能对土壤进行加热,节约能源,降低土壤热脱附成本;当外界没有太阳的时候,也可以直接从进气管处通入高温空气对土壤进行加热,通用性强。
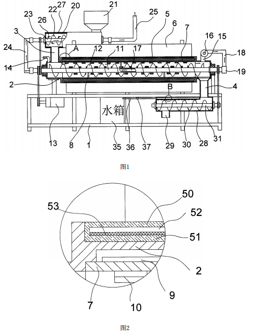
  作为优选,所述的太阳能集热管包括外玻璃管、内玻璃管,所述的外玻璃管与内玻璃管的两端密封连接,外玻璃管与内玻璃管之间形成一个封闭的环形真空腔,所述内玻璃管的外壁上设有吸热涂层。
  作为优选,所述转筒的外侧面上设有若干沿轴向分布的导热翅片,所述转筒的内壁上设有若干用于翻动土壤的拨块,拨块的截面呈V型。由于太阳能反光板通常只能对太阳能集热管一侧进行加热(太阳能集热管另一侧通过太阳光照射加热),从而导致加热筒外圈受热不均匀,环形间隙内的温度也均匀,本结构中通过转筒的转动,使得环形间隙内的空气流动、温度均匀,从而对圆周内各个部位的土壤加热,导热翅片提高导热效率;为了便于土壤受热脱附,通常情况下加热筒内的土壤只占加热筒内腔空间的一半,土壤在重力的作用下,大部分土壤都集中在主轴下侧,不利于加热,本结构中通过转筒转动,拨块拨动土壤,利于土壤受热,同时把主轴下侧的土壤上翻到上侧并撒落,极大的提高土壤加热效率。
  作为优选,所述的主轴内设有气道,所述排风机的出气端通过连接管与主轴的右端连通,连接管与主轴的连接处设有旋转接头。排风机排出的空气中带有很多热量,直接排放掉浪费热能,本结构中,排风机排出的高温毒气再一次回到主轴的气道内,从加热筒的中心对土壤进行加热,提高热利用率,提高土壤热脱附效率。
  作为优选,所述的支架上位于加热筒的左端上侧设有水平的预加热筒,所述预加热筒的左端下侧与进料通道连通,所述预加热筒的右端上侧设有进料斗,所述的预加热筒内设有进料绞龙,所述进料绞龙与主轴之间通过同步轮、同步带连接,所述进料绞龙的旋向与螺旋带的旋向相反;进料绞龙轴内设有中心通孔,所述主轴的左端与进料绞龙轴的左端之间通过回流管连接,所述回流管的两端均设有旋转接头,所述进料绞龙轴的右端设有尾气管。热脱附时,需要把土壤加热到150℃以上才能使毒害物质从土壤中挥发出来,而从进料通道加入的土壤为常温土壤,土壤从常温上升到150℃需要较长的时间,而且常温土壤直接进入加热筒内会快速降低加热筒内的温度,因此加热筒内的土壤热脱附效率低,本结构中,设置预加热筒,先把常温土壤预加热,减小土壤温度与脱附温度的温差,提高土壤热脱附效率;而且预加热是利用从主轴左端排出的毒害气体的残余热量,最后从尾气管处排出的尾气温度接近常温,尾气后续处理也更加安全、方便。
  作为优选,所述的进料绞龙轴上设有若干刀片;预加热筒的外侧套设有吸热保温套。刀片能把预加热筒内的块状土壤进一步切碎,使得进入加热筒内的土壤颗粒均匀,热脱附效果好,同时刀片自身具有导热效果,刀片插入土壤后能把进料绞龙轴上的热量传递给土壤。
  作为优选,所述支架的右端下侧设有水平的后处理筒,所述的后处理筒的右端上侧与出料通道连通,所述后处理筒的左端下侧设有排料通道,后处理筒内设有出料绞龙,出料绞龙轴的右端通过同步轮、同步带与主轴的右端连接;所述后处理筒的上侧设有隔板,所述隔板与后处理筒之间围成储液腔,所述隔板上设有若干排液孔,所述支架底部设有水箱,所述水箱与储液腔之间通过水管连接,水管上设有水泵,水箱内设有肥料溶液。进过加热筒热脱附后的土壤非常干燥、温度高、土壤很贫瘠,该土壤经过后处理筒时,水箱中的肥料溶液进入出液腔后从排液孔处喷洒到土壤中,实现土壤增湿、降温、增肥的效果。
  作为优选,所述隔板的下侧设有钢丝网,所述钢丝网呈波浪形结构,钢丝网上的凹陷处对应每个排液孔,钢丝网上的凸起处与隔板之间通过螺钉连接。钢丝网对排气孔具有隔离保护作用,防止土壤堵塞排液孔;钢丝网呈波浪形,钢丝网上的每个凹凸面处受压时具有弹性,当土壤粘到网孔上时,后面的土壤挤压钢丝网的时候通过弹性使得网孔内的土壤与钢丝网分离。
  作为优选,所述的尾气管与尾气处理塔连接。尾气处理塔对尾气进行处理,防止尾气污染环境。
  因此,本实用新型具有如下有益效果:(1 )设备利用太阳能加热,节约能源,降低土壤热脱附成本;(2)土壤先通过预热后再进行热脱附,土壤热脱附效率高;(3)热脱附后的土壤在后处理筒内进行增湿、降温、增肥处理,处理后的土壤就能直接使用。
  2、热脱附土壤修复设备附图说明
新型的热脱附土壤修复设备一种结构示意图新型的热脱附土壤修复设备一种结构示意图
  图1为本实用新型的热脱附土壤修复设备一种结构示意图。
  图2为图1中A处放大示意图。
  图3为图1中B处放大示意图。
  图中:支架1、加热筒2、进料通道3、出料通道4、太阳能集热管5、太阳能反光板6、转筒7、连杆8、导热翅片9、拨块10、主轴11、螺旋带12、电机13、进气管14、排气管15、排风机16、气道17、连接管18、旋转接头19、预加热筒20、进料斗21、进料绞龙22、进料绞龙轴23、回流管24、尾气管25、刀片26、吸热保温套27、后处理筒28、排料通道29、出料绞龙30、出料绞龙轴31、隔板32、储液腔33、排液孔34、水箱35、水管36、水泵37、钢丝网38、螺钉39、外玻璃管50、内玻璃管51、环形真空腔52、吸热涂层53。

30

装备制造经验

立即免费获取土壤修复方案

为用户提供及时、高效、便捷的服务

在线咨询
金莎9001zz以诚为本环境希望与你携手,共创美好未来...
5