金莎9001zz以诚为本

行业动态

了解最新公司动态及行业资讯

高效节能环保的污染土壤的热脱附方法

2017-10-16 03:03:49 375 编辑:admin 来源:本站
    由于热脱附修复技术存在上述高能耗、高成本等问题,使该技术的推广应用受到了很大的限制 ;因此,如何降低热脱附系统运行能耗是当前热脱附修复技术亟待解决的问题。
    本发明提供了一种热脱附装置、热脱附修复系统以及污染土壤热脱附技术,采用该装置及热脱附系统修复污染土壤可显著降低土壤热脱附过程的能耗,降低处理成本,提高土壤热脱附效果。
    一、技术原理
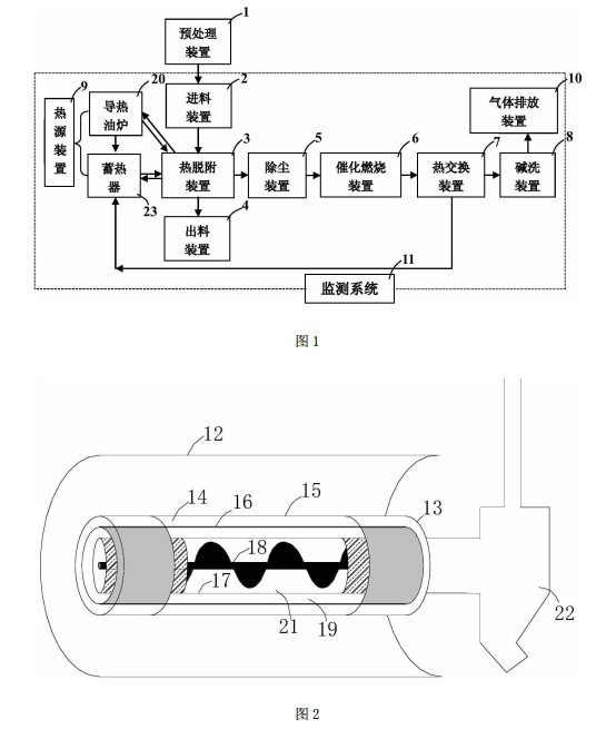
    一种热脱附装置,包括槽式反射镜和集热管,所述集热管由自外向内依次穿套的外层套管、中间套管和内层套管组成,所述外层套管为透明,外层套管与中间套管之间设有真空隔层,所述中间套管和内层套管之间为热交换区,所述热交换区通过管路外接循环泵和油炉,所述内层套管的内部空间为工作区。
    所述中间套管和内层套管采用导热材质,热交换区内流通有导热油,该导热油通过循环泵和油炉在热交换区内循环流动 ;槽式反射镜可将太阳光反射到集热管的外层套管上,并透过真空隔层被中间套管吸收,进而对导热油进行加热,导热油的温度可加热至300 ~ 400℃。外层套管与中间套管之间设置真空隔层可防止热量逆向扩散造成的损失。
    本发明将集热管设置成三层套管结构,并在中间套管和内层套管之间设置能够循环流通导热油的热交换区,利用导热油热传导效果好、热稳定性高的特点,使在热交换区内流通的导热油吸收中间套管的热量,提升自身温度,并将热量传递至内层套管,从而对内层套管内部的污染土壤进行热脱附。
    采用上述结构进行土壤热脱附不仅能够减少热脱附过程的能耗,也可使污染土壤受热均匀,提高脱附效果。
    作为优选,所述内层套管内设有搅龙,其用于搅拌输送工作区内的污染土壤。搅龙在电机的带动下可以以一定转速旋转,推动土壤在工作区内前行,保证土壤在工作区内停留一定的时间,通过调节搅龙的转速来调整土壤在热脱附装置内的停留时间。
    作为优选,所述中间套筒和内层套筒为金属材质,利于中间套管、内层套管与热交换区之间的热量传递。
    本发明还提供了一种污染土壤的热脱附修复系统,包括依次连接的预处理装置、进料装置、热脱附装置、除尘装置和尾气处理系统,热脱附装置如上文所述。
    所述预处理装置由土壤破碎装置和振动筛分装置构成,两者相互连接。污染土壤依次经过破碎、筛分处理后,粒径达到 10mm 以下。
    所述进料系统由板式输送机、磁选器和计量称构成,所述板式输送机与振动筛分装置连接,磁选器和计量称分别与板式输送机连接。预处理后的污染土壤在由板式输送机运往热脱附装置的过程中,进行磁选,去除铁块等磁性固体,并进行计量。
    作为优选,所述的除尘装置为两个旋风除尘器串联使用的两级除尘装置。上述除尘装置分别通过调整旋风除尘器的风速实现两级除尘处理,在除尘装置和热脱附装置之间设置引风机,热脱附过程后产生的污染尾气,在引风机的作用下,进入两级除尘装置中。
    作为优选,所述尾气处理系统包括依次连接的催化燃烧装置、碱洗装置和气体排放装置。
    为了进一步降低土壤热脱附修复过程中的能量消耗,作为优选,所述催化燃烧装置与碱洗装置之间还连接有热交换装置。
    上述热交换装置的热流体进口端通过引风机与催化燃烧装置相连,而冷流体进口端与热源装置的油炉连通,催化燃烧后排出的剩余尾气,在引风机的作用下,进入热交换装置中,并作为热流体进行热交换 ;而导热油炉中的导热油通过循环泵从冷流体进口端泵入热交换装置中。
    更优选,所述热脱附装置与热源装置相连,所述热源装置由油炉和蓄热装置组成,热脱附装置、油炉和蓄热装置通过管路两两相连接。油炉属于辅助加热装置,在太阳能辐射不足或阴雨天气时,为热脱附系统供热,保证热脱附系统正常运行 ;与此同时,蓄热装置也为油炉提供能量,并在太阳辐射过强时,通过与热脱附装置连接而将过量太阳能存蓄于蓄热器内。
    本发明还提供了一种利用所述热脱附修复系统进行污染土壤热脱附修复的方法,包括 :
    (1) 将污染土壤在预处理装置中破碎、筛分后,进行磁选处理,再输送至热脱附装置中,进行土壤热脱附 ;
    (2) 热脱附后的土壤经出料装置排出,脱附出的尾气经除尘后,进行催化燃烧 ;
    (3) 催化燃烧后的尾气经碱液喷淋洗涤后,通过气体排放装置排出。
    作为优选,热脱附装置中,工作区的温度为 300 ~ 400℃,土壤在工作区的停留时间为 10 ~ 30min,以保证污染土壤进行充分的热脱附处理。
    常规热脱附处理后获得的尾气通过焚烧、喷淋等方式进行处理,易造成部分有机物无法去除完全 ;本发明采用催化燃烧的方式,限定具体的催化剂和催化温度,能够更好的去除尾气中的苯系物、多环芳烃以及非氯代有机物等有机污染物,总去除率可在 99%以上。
    作为优选,所述催化燃烧的温度为 300 ~ 600℃,催化燃烧过程中采用的催化剂的组分为 :以重量百分数计,50%的氧化铝,25%的单质铈,25%的单质钴。
    为保证尾气处理过程的效果,在尾气催化燃烧处理前,需要进行除尘处理,作为优选,所述除尘的过程为两级除尘,一级除尘的风速为 9m/s~ 13m/s,二级除尘的风速为 18~23m/s。
    二、有益效果 :
    (1) 本发明采用太阳能集热以及导热油传热的方式对污染土壤进行热脱附,大大降低了土壤热脱附修复过程的能耗,有利于太阳能集热技术在土壤热脱附领域的推广。
    (2) 本发明在采用太阳能集热的同时还设置了热源装置,保证在太阳能辐射不足情况下,热脱附系统能够正常供热和运行。
    (3) 本发明采用催化燃烧技术对尾气进行处理,使得在较低的温度下,尾气中的有机污染物去除率超过 99%,显著降低处理成本的同时,实现了尾气安全、高效的排放。
    (4) 本发明采用监控系统,在系统运行过程中,对各个设备的运行状态进行全程自动监控,实现了热脱附系统的自动化控制。
    三、附图说明
  污染土壤热脱附修复系统的结构框图
    图 1 为本发明污染土壤热脱附修复系统的结构框图 ;
    图 2 为本发明热脱附修复系统中的热脱附装置的结构示意图。
    其中,1- 预处理装置,2- 进料装置,3- 热脱附装置,4- 出料装置,5- 除尘装置,6- 催化燃烧装置,7- 热交换装置,8- 碱洗装置,9- 热源装置,10- 气体排放装置,11- 监测系统,20- 导热油炉,23- 蓄热器。

30

装备制造经验

立即免费获取土壤修复方案

为用户提供及时、高效、便捷的服务

在线咨询
金莎9001zz以诚为本环境希望与你携手,共创美好未来...
5