金莎9001zz以诚为本

行业动态

了解最新公司动态及行业资讯

土壤修复装置涉及到的领域

2018-03-14 08:43:21 359 编辑:admin 来源:本站
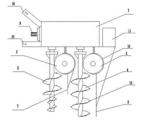
       土壤是人类生存的自然生态圈的重要组成部分。随着农业与工商业的迅猛发展,重金属污染已经严重威胁到土壤环境的安全了,不同的土壤污染,要采用不同的土壤修复,便于威胁环境太严重,一种结构简单,操作方便且土壤修复效果好的土壤修复装置。
 
       土壤修复装置,属于土壤修复设备技术领域,包括竖向提升机构及与其相连的横向输送机构,竖向提升机构、横向输送机构与动力机构传动连接。本发明的结构简单、整体设计合理、操作方便且土壤修复效果好。
   

30

装备制造经验

立即免费获取土壤修复方案

为用户提供及时、高效、便捷的服务

在线咨询
金莎9001zz以诚为本环境希望与你携手,共创美好未来...
5