金莎9001zz以诚为本

行业动态

了解最新公司动态及行业资讯

于有机污染场地的电流加热原位土壤热脱附

2018-10-15 01:11:57 315 编辑:admin 来源:本站
      近年来我国相继开展了污染场地修复治理工程,以江苏为例,目前已完成近10项 污染场地修复工程,并且随着污染企业的搬迁整治,多个污染场地修复工程还在陆续实施。 然而,目前我国的污染场地修复刚刚起步,现有的修复工程大多采用异位填埋和水泥窑共 处置等异位处理方式(成本高、二次污染严重),而采用的原位修复技术被大量急功近利地 使用(如常温热解析的过度使用、短期内过量注入氧化药剂),导致许多修复项目半途而废。 因此,我国现阶段亟需开展有效的土壤和地下水污染原位修复技术研究。 
     原位土壤热脱附技术是有机污染土壤原位修复技术中一项重要手段,主要用于处理一 些比较难开展异位环境修复的区域,例如,深层土壤以及建筑物下面的污染修复。原位土壤热脱 附技术是将污染土壤加热至目标温度,通过控制系统温度和物料停留时间有选择地促使污 染物气化挥发,使目标污染物与土壤颗粒分离、去除。热脱附过程可以使土壤中的有机化合 物挥发和裂解等物理化学变化。当污染物转化为气态之后,其流动性将大大提高,挥发出来 的气态产物通过收集和捕获后进行净化处理。 
原位土壤热脱附具有治理效果好,二次污染小,对场地扰动小等优点。但是原位热脱 附,特别是燃气加热的原位土壤热脱附不能单纯加热指定深度区间,需要将场地从最低处到最 高处通体加热,造成能量的浪费等问题。 
土壤热脱附

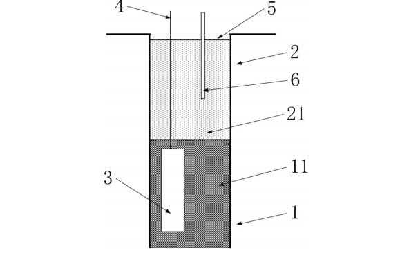
      针对上述问题中的至少之一,本发明提供了一种用于有机污染场地的电流加热原 位土壤热脱附电极井,通过在电极井下层的加热区填充导电的加热区填料,在加热区填料中设 置电极,在加热区上层填充绝缘的非加热区填料,从而根据有机污染场地的特性设置电极 和加热区的深度和位置,实现对有机污染场地进行精准化的加热,实现对挥发性有机污染 物的原位土壤热脱附修复,同时由于加热的精准化,减少了能量的浪费,提高了对有机污染物的 热脱附效果。

30

装备制造经验

立即免费获取土壤修复方案

为用户提供及时、高效、便捷的服务

在线咨询
金莎9001zz以诚为本环境希望与你携手,共创美好未来...
5