金莎9001zz以诚为本

行业动态

了解最新公司动态及行业资讯

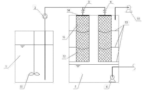
土壤淋洗液的固液分离装置

2018-12-29 01:15:51 388 编辑:admin 来源:本站
    土壤淋洗作为污染土壤修复常用的技术之一,通过将能促进土壤污染物溶解或迁移的化学溶剂或水注溶剂。从而将污染物从土壤中溶解,分离出来并进一步处理,其作用机制在于,利用淋洗液或化学助剂与土壤中的污染物结合,以去除其中的泥沙,经固液分离后再加入一定的化学药剂去除其中的重金属或有机污染物等。
土壤淋洗
   土壤淋洗液的固液分离装置,包括泥浆池、污泥泵、过滤罐以及潜污泵;过滤罐具有过滤袋、支撑网、固定支架、真空泵以及密封盖,过滤袋、支撑网、固定支架以及潜污泵位于过滤罐内,真空泵和密封盖位于过滤罐外侧;污泥泵的入口经管道通向泥浆池内的土壤淋洗液;污泥泵的出口经管道通向位于过滤罐顶部的过滤袋开口;潜污泵位于过滤罐的下部,且潜污泵的出口经管道通向外界。本实用新型可处理不同浓度的土壤淋洗液,且过滤速度快,固液分离效率高,处理后的污泥含水率低,不需要进行进一步脱水即可达到储存和处置的要求;同时该固液分离装置工艺简单,制作方便,成本较低并且对不同污染场地的兼容性好。
 

30

装备制造经验

立即免费获取土壤修复方案

为用户提供及时、高效、便捷的服务

在线咨询
金莎9001zz以诚为本环境希望与你携手,共创美好未来...
5