回转式土壤热解析的实验方法
2019-03-06 03:58:21
317
编辑:admin
来源:本站
土壤是人类赖以生存的物质基础,是人类生态环境的重要组成部分。随着工农业 的发展和城市化进程的扩大,农业上化肥农药的广泛使用、工业废水中有毒有害物质侵袭 农田、固体废物堆放填埋引起的有毒有害物质的泄漏等,使各种污染物质通过不同途径在 土壤中不断积累,土壤净化能力日趋饱和,土壤质量明显下降,我国土壤污染状况已开始对 土地资源可持续利用与农产品生态安全构成威胁。据统计,全国受有机污染物 ( 农药、石 油烃和 PAHs) 污染的农田达 3.6×107hm2,这些污染场地表现出类型多、污染源复杂、危害 面广等特点,全国每年因土壤污染而损失的粮食达 1.2×1010kg。土壤污染不仅导致农产 品品质下降,危害人体健康,还导致大气和水体环境污染。土壤污染具有典型的定时炸弹性 质,一旦大面积爆发,将会对国家可持续发展造成难以估量的影响,因此,如何合理处置污 染土壤成为当前急需解决的问题,开展污染土壤修复处置技术研究刻不容缓。污染土壤的修复 技术研究正在成为世界各国研究的重点,同样也是我国在环保领域的一个重要课题和研究 方向。

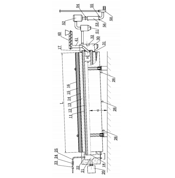
回转式污染土热解析实验装置和实验方法,包括对污染土进行高温热解析的回转窑、进料装置、气体处理装置;回转窑的回转中心线与水平面之间设有倾角;在回转窑的出料端设有燃烧器,在回转窑的进料端设有与进料口连通的气体收集室;进料装置包括给料机和进料导管;气体处理装置包括引风机、气体过滤装置、气体冷却装置、气体采样口和流量计。本发明的有益效果是:采用适合于实验室内使用的、可连续运行的、分段高温热解析实验装置,对含有有机物、重金属等各种类型污染土进行分析,可获得不同类别污染土的热脱附参数,实现污染土热解析修复处理过程的精密控制和连续运行的全方位调控和参数优化。
联络方式:
郑州市长椿路11号国家大学科技园孵化1号楼513
电话:0371-61772378
邮箱:desenhuanjing@163.com
微信公众号
金莎9001zz以诚为本环境抖音号