金莎9001zz以诚为本

公司动态

了解最新公司动态及行业资讯

有机物污染土壤修复的多热源无轴间热式热脱附

2017-11-10 02:09:20 328 编辑:admin 来源:本站
    上一章我们讲了土壤热脱附技术的优缺点,为了克服现有技术中的不足,提供一种用于有机物污染土壤修复的多热源无轴间热式热脱附装置。
    1、为解决技术问题,本发明的解决方案是 :
    提供一种用于有机物污染土壤修复设备——多热源无轴间热式热脱附装置,包括热脱附器 ;该热脱附器是间热式热脱附器,为夹套式加热炉 ;
    间热式热脱附器包括水平方向布置的内筒和外筒,内筒的外壁上布置肋片用于促进传热 ;在外筒前端的上部设有接入至内筒中的土壤进料口、在内筒后端的下部设有出土器 ;在外筒后端的上部设有用于通入热量载体的多热源入口、在外筒前端的下部设有多热源出口 ;在内筒前端的下部设有用于通入载气的载气入口、在内筒后端的上部设有载气出口 ;热量载体在内筒外夹套中的流通路径与内筒中的土壤运动方向相反,载气在内筒中的流通路径与内筒中的土壤运动方向相同 ;在内筒的中心线上设有由连续螺旋状叶片构成的无轴式旋转轴。
    本发明中,所述出土器的下端设置输送器,输送器的上方设增湿器。所述多热源入口接至燃油高温烟气出口、余热锅炉废气出口或电厂锅炉废气出口。本发明进一步提供了利用前述装置实现有机物污染土壤修复的方法,包括以下步骤 :
    有机物污染土壤从土壤进料口以固定速率进入内筒 ;
    自多热源入口引入 300 ~ 1300℃的高温烟气、余热锅炉废气或电厂锅炉废气至内筒和外筒之间的夹套中,热量载体在夹套中的流通路径与内筒中的土壤运动方向相反 ;从载气入口引入惰性气体进入内筒,载气在内筒中的流通路径与内筒中的土壤运动方向相同 ;
    土壤在内筒中被加热至 220 ~ 600℃,所含有机污染物被脱附出来并由惰性气体携带 ;经热脱附处理后,99.9% 以上的有机污染物被脱附出来,清洁的土壤由出土器排出,并经增湿器喷水增湿后排放 ;
    热量载体离开间热式热脱附装置后,进入余热利用装置回收余热或直接排放 ;携带着有机污染物的惰性气体进入尾气处理设施进行处理。
    该方法中,多热源是指 300 ~ 1300℃的高温烟气、余热锅炉废气或电厂锅炉废气 ;多热源的消耗量与土壤处理量之间的关系用下述公式表示 :
    其中,M 多热源为每小时多热源的消耗量,M 土为每小时土壤量处理,C 土为土壤比热容,ΔT 土为土壤在间热式热脱附装置内升高的温度值,Q 多热源为每千克多热源的热值,η热为多热源向土壤的综合传热效率。
    2、与现有技术相比,本发明的有益效果在于 :
    本发明的用于有机物污染土壤修复的多热源无轴间热式热脱附装置,通过间接加热对土壤热脱附,可对有机污染物污染土壤进行有效处理,特别适用于高浓度、多组分有机污染物污染土壤场地修复 ;对多种热源适应性良好,且可根据目标有机污染物的理化性质,选择适宜的热源,提高了热源的综合利用效率 ;采用间热式热脱附装置,减少了需处理的烟气量 ;采用具有肋片的内筒外壁结构设计,同时多热源与土壤异向运动,促进了多热源和土壤的换热,增加了传热效率 ;采用无轴式旋转轴,单位时间土壤处理能力大,且特别适用于砂质污染土壤。对于有机污染物污染土壤,本装置可实现 99.9% 以上的有机污染物去除效率。本发明的有机物污染土壤修复的多热源无轴间热式热脱附装置,其需处理烟气量少、有机污染物去除彻底、运行成本较焚烧等技术低 30 ~ 60%,能经济有效的处理有机污染物污染土壤。
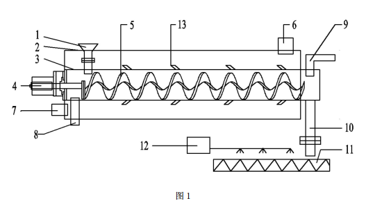
    3、附图说明
  有机物污染土壤修复的多热源无轴间热式热脱附装置工艺流程示意图
    图 1 是有机物污染土壤修复的多热源无轴间热式热脱附装置工艺流程示意图。
    图中附图标记 :1 土壤进料口,2 外筒,3 内筒,4 电机,5 无轴式旋转轴,6 多热源入口,7 多热源出口,8 载气入口,9 载气出口,10 出土器,11 输送器,12 增湿器,13 肋片。

联络方式:

郑州市长椿路11号国家大学科技园孵化1号楼513

电话:0371-61772378

邮箱:desenhuanjing@163.com

微信公众号
金莎9001zz以诚为本环境抖音号

30

装备制造经验

立即免费获取土壤修复方案

为用户提供及时、高效、便捷的服务

在线咨询
金莎9001zz以诚为本环境希望与你携手,共创美好未来...
5